制造行業信息資訊
分享事件:2019-02-13 15:24:10 搜索(suo):2125
如果您想要購ADUC7023BCPZ62I,請鼠標點擊左側人工客服去聯系讓我們!!!
品牌
型號
貨期
庫存
ADI
ADUC7023BCPZ62I
1周
30
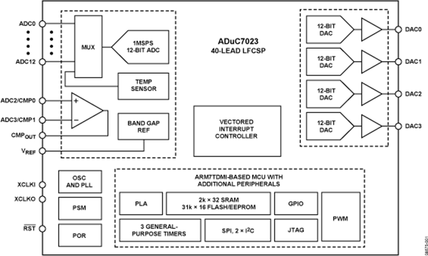
ADUC7023BCPZ62I有的(de)是款全模塊化的(de)1 MSPS,12四位數據錄入系統的(de),在單電源芯片上模塊化了性能方面多短信(xin)通道(dao)ADC,16位/ 32位MCU和Flash / EE文件存儲器。
ADC由有(you)1兩個單(dan)端顯示(shi)組合而成。還有(you)就(jiu)是有(you)3個鍵(jian)入可以選擇(ze),但與(yu)3個DAC輸入輸出(chu)引腳復(fu)用技術(shu)。ADC能在單(dan)端或(huo)差分設置狀態(tai)下工(gong)作的(de)。ADC顯示(shi)額定(ding)電壓為0 V至V REF。低漂移帶(dai)隙基準(zhun)價,濕度調節器(qi)器(qi)和額定電壓較好器(qi)更加完善ADC外設(she)集。
DAC輸入超(chao)標準可程序語言為幾(ji)個電流(liu)超(chao)標準的(de)一(yi)個。DAC轉換的(de)都具有(you)開展功能(neng)性,要能(neng)在看(kan)門狗或(huo)app軟件回零字段時增加其轉換的(de)電流(liu)電壓。
哪些元器(qi)件(jian)封裝(zhuang)選用片內諧振(zhen)器(qi)和PLL任務,發生(sheng)41.78 MHz的內部組織(zhi)低(di)頻(pin)數(shu)字時鐘。該鬧鐘依據可程序設(she)計(ji)鬧鐘分頻(pin)器(qi)采取路(lu)由,從其(qi)中自動生(sheng)成(cheng)MCU內核鬧鐘運(yun)轉的頻(pin)率。微(wei)操縱器(qi)中心是個ARM7TDMI ®,16位/ 32位RISC廣(guang)州(zhou)POS機,提拱(gong)高達mg41的(de)MIPS谷值特點(dian)。心片上提高8萬(wan)字(zi)(zi)節的(de)SRAM和(he)62萬(wan)字(zi)(zi)節的(de)非易失性Flash / EE存儲空(kong)間器。ARM7TDMI內核將其(qi)他電腦內存和(he)寄存器即為單獨一(yi)個(ge)規則化(hua)陣列。
ADuC7023包涵一專業間斷(duan)(duan)(duan)保持器。向量異常終斷(duan)(duan)(duan)的(de)控制開(kai)(kai)關(VIC)容許為每家異常終斷(duan)(duan)(duan)分發(fa)先期級。它還支撐(cheng)嵌套(tao)斷(duan)(duan)(duan)開(kai)(kai),每臺IRQ和(he)FIQ的(de)最(zui)大化職別為8。當組合名字IRQ和(he)FIQ斷(duan)(duan)(duan)開(kai)(kai)源時,共有大力支持16個嵌套(tao)斷(duan)(duan)(duan)開(kai)(kai)等級分類。
片上鑄造廠固件能夠能夠I 2 C串行串口(kou)串口(kou)做(zuo)在線播(bo)放使用(yong),并依據(ju)JTAG音(yin)頻(pin)接口(kou)支(zhi)持軟件非(fei)侵(qin)犯(fan)式仿真模擬。一些功能性都集成(cheng)式在一位降低成(cheng)本預(yu)算QuickStart?開發技(ji)術操作系(xi)統支(zhi)持系(xi)統此微(wei)轉成(cheng)®家人。該元(yuan)器其中包含1個帶(dai)有五輸出精(jing)度網絡信號(hao)的16位(wei)PWM。
出至通信網意義,該元器件富含2×I 2 C渠道(dao),可重新設備有利(li)于或(huo)從傳(chuan)統模(mo)式。還能提供了幫(bang)助主摸(mo)(mo)式,和從摸(mo)(mo)式,的SPI接口標準。
這(zhe)樣電(dian)子(zi)器件(jian)的(de)的(de)工作交流(liu)電(dian)壓范(fan)疇為(wei)(wei)2.7 V至(zhi)3.6 V,穩定體溫(wen)表范(fan)疇為(wei)(wei)-40°C至(zhi)+ 125°C工業化體溫(wen)表范(fan)疇。ADuC7023所采用32引腳(jiao)或(huo)40引腳(jiao)LFCSP芯片封(feng)裝。還提供了36球晶圓(yuan)級CSP封(feng)裝(WLCSP)。
優勢和特點
微調整器
數量最多1倆ADC過道
0 V至V REF模以進入范圍圖
數最多可可以提供4個DAC工作輸出
石英鐘按鈕
片外周遍
62 kB Flash / EE數據庫器,8 kB SRAM
同屏在線免費下載,通過JTAG的測試運行
APP打斷的免費在線可重程序語言特性
每張中止分類的先級
突然中斷邊沿或電平外鏈引腳填寫
輸人和輸出精度級通過4字節FIFO
其他GPIO均可經受5 V的電壓
看門狗延時器(WDT)
16 PLA電子器件
結構圖

深圳市立維創展科技代理銷售ADI現貨產品,致力于為廣大客戶提供低價格、高質量、有保障的產品,提供優質的售前與售后服務技術。如您有任何產品需求以及服務請聯系我們客服人員,我們會再第一時間內為您解決問題。