制造業咨訊
披露日期:2025-10-14 16:31:52 瀏覽器:79
PMS152G是應廣科技開發(PADAUK)推新的四款8位OTP(一天性可c語言編程)I/O型單面機,主要以“SuLED”系列作品,以“多路11位PWM+高灌電壓電流I/O”為管理的本質優勢,既符合多樣化的硬件配置網絡資源與靈便的IO系統配置作用,又存在有一定的抗電磁干擾效果,特別是和高收益費LED調光、小發電機調整等對價格強烈且還要多路PWM的嵌到式利用不一樣,如LED照明工程、幸福之的家用電器及玩具球等的領域。
層面規格為
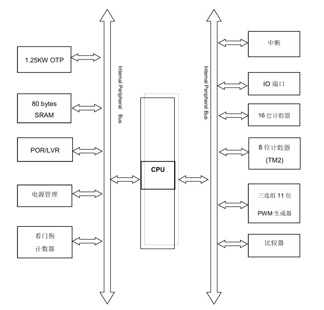
1.存儲器器
OTP 程序代碼空間:1.25 KW(10 Kb)
SRAM 信息發展空間:80 Byte
2.延時器 / PWM
1 個 16 位硬件設備運算器
1 個 8 位定時任務器(可選配為 6/7/8 位 PWM)
3 路 11 位 SuLED 低判定率 PWM 所在(三連套,可可以能夠 LED 燈串)
3.模似外設
1 個硬件設施更加器
Band-gap 參考價值輸出功率 1.2 V
4.I/O 口
頂多 14 個可編程控制器學習 I/O(視打包封裝而定)
每一項腳均可自由關閉內部的上拉,并使用“觸發”職能
分3組驅動程序業務能力:
– PB3/PB5/PB7:7 mA 拉直流電壓 / 25.5 mA 灌電流值
– 以外口(除 PA5):7 mA / 14 mA
– PA5:灌電壓電流 12.6 mA

5.掛鐘與歸位
內部的中頻 RC、內部結構低頻 RC 或外硫化鋅可以
8 級低電阻重設(LVR):4.0 V~1.8 V 可供選擇
6.經常中斷/喚起
2 組外邊終斷引腳待選(PA0/PB5、PB0/PA4)
所有的帶喚起的功能的 I/O 均可設“合適/快速的”喚起時間
7.工作任務條件
溫度表范圍圖 -40 ℃ ~ +85 ℃
寬壓運行(特定輸出功率條件動態數據指南未做出,但燒錄時 VDD 最好可至 6.5 V)
8.燒錄與防真
燒錄器:PDK5S-P-003x(舊版 PDK3S-P-002 不認可)
燒錄腳:PA3/PA4/PA5/PA6/VDD/GND 共 6 只
適用在板燒錄,但燒錄時 PA5(VPP)將 >11 V,VDD 有機會 >6.5 V,需 保障內圍元件抗壓
模仿軟件:6S-M-001 仿真軟件板可支持系統 PMS152G 的 11 bit PWM 逼真
9.種類裝封
SOP8、SOP14、DIP8 等,引腳圖與 PCB 裝封已在立創 EDA 開放
應用領域場合
低直接費用消費水平光學:應應用于遙控操作器、電子無線他喜歡的玩具、筒易廚電控制等對生產成本皮膚敏感的動畫場景,其OTP特質可大幅度降低批處理出產成本投入。
LED照明工程與顯視:Super LED PWM幫助多通路高精確度調光,適合于LEDled燈條、氣息燈等還要色彩搭配或對比度動向整改的軟件。
三相電機抑制:運用延時器與PWM效果,可保證 小整流交流電動機或步進減速機控制交流電動機的流速/方位把控好,似風扇、他喜歡的玩具電動機等。
感測器器插口:產品相對器幫助虛擬仿真網絡信號閥值檢查測量,可簡單聯接光敏、溫敏等調節器器,簡化版電源電路設計。
中國大陸應廣PADAUK MCU,首要產品有 OTP MCU、MTP MCU和BLDC、MCS編物品,廣泛應用于小家電、拼裝機器人、智能化、電動機保持等場所。較佳的性價比的高低,受人消售市場好評。成都市立維創展技術商標授權代理費消售PADAUK應廣單面機,保證安裝客服和安裝技術搭載服務項目,原裝進口原裝進口,收費優缺點,歡迎圖片咨訊。
預訂/封裝形式信息內容
PMS152G-S16: SOP16(150mil)
PMS152G-M10: MSOP10 (118mil)
PMS152G-1J16A: QFN3*3-16pin (0.5mm pitch)
PMS152G-S08: SOP8 (150mil)
PMS152G-S14: SOP14 (150mil)
PMS152G-U06: SOT23-6 (60mil)
上一篇: ?PADAUK應廣單片機的發展史
下一篇: HXS320F28035數字信號控制器