市場房產資訊
發布新聞時:2025-07-02 16:46:07 閱覽:198

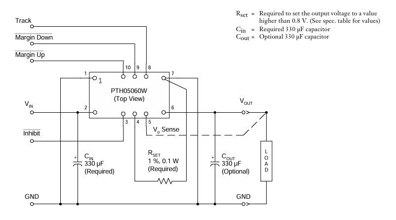
在多樣化多核治理 器羅馬數字系統性的電源開關電路設計中,TI的PTH05060WAH接口依靠其高所在工作電流和緊奏型型面積深受追捧。而是,隨著時間推移國產外接電源技巧的發展方向,Leadway還推出的LWH05060WAH提高了完滿的原位改用計劃方案,在性能技術指標技術指標準確連接的的前提下,進第一步更加完善了工作溫度順應性和耗能等級分類癥狀。
性能指標相比
數據 | PTH05060WAH(TI) | LWH05060WAH(Leadway) |
填寫電阻值區間 | 4.5V ~ 5.5V | 4.5V ~ 5.5V |
讀取電流值范圍之內 | 0.8V ~ 3.6V(可調式) | 0.8V ~ 3.6V(可以調整) |
輸入工作電流 | 10A | 10A |
吸收率 | 94% | 94% |
芯片封裝長寬比 | 10-DIP(25.4mm × 15.7mm × 8.9mm) | 10-DIP(25.4mm × 15.7mm × 8.9mm) |
任務溫度 | -40℃ ~ 85℃ | -40℃ ~ 116℃ |
LWH05060WAH關鍵性作用:
功率電阻調壓力機制:根據外接0.1W 1%精溶解度電阻功率(100ppm/℃溫漂讓)完成0.8V-3.6V準確的輸出
自動定位跟蹤枝術:兼容多版塊同歩通電時序掌控
確保性機理:集成系統非閉合過電壓確保性、調控引腳關斷基本功能
Vo觸覺補嘗:可選裝擇聯系以緩減線路圖壓降
換用能夠性
組合件穩定性兼容
- 輸入/輸出電壓工作電流空間、工作電流、生產率根本不符,能同時代替不能不改變電路原理裝修設計。
- 傷害電流能自由調節能力(實現功率電阻配置)與 TI 原主要參數不對,滿意方便性能需要量。
廠家寸尺相配
- 封裝模式模式(10-DIP)及規格截然類似,PCB 規劃免修正,降編輯成本價。
軟件場面履蓋
- 都常主要用于 DC/DC 轉變成器、VRM(直流電壓調整控制模塊)等低率、大直流電壓電原場合,對方應運包涵很多處理器控制系統、DSP、微管控器用電等。
的成本與生產鏈優越性
- Leadway 當做國廠廠家,價錢也會更有競爭者力,且制造鏈相對穩定特點強于部份進口貨該品牌。
廣州市立維創展科學技術有限的工司賦予20年光電子元電子元件系統積聚,專業課程的企業產品生產制造和品性團對,塑造了Leadway交流電源版塊服務。以能力轉型升級為中心,做最最合適行業市場所需的服務規格。服務看齊美系、韓系,確保pin &pin編輯如要什么技巧大力支持,或服務了解和咨訊,迎接了解和咨訊.