互聯網行業方式
正式發布精力:2025-06-23 16:41:13 查看:489
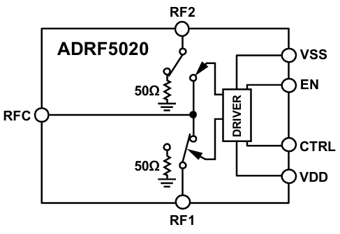
ADRF5020也是款由ADI的生產的適用硅藝水平的多用途型單極雙擲(SPDT)旋鈕,應用3 mm×3 mm、20接線端子焊層柵格陣列(LGA)芯片封裝,在100 MHz至30 GHz范圍圖內作為高防護和低放進去耗率。該光纖寬帶按鈕要求+3.3 V和-2.5 V的雙電源線電阻值,與此同時給予CMOS/LVTTL邏輯推理性兼容操縱。首要使用在測試軟件機器設備、無線網電力技術、統計和參數電力。
貨品特質
超長帶率區間:100 MHz至30 GHz。
非條件反射式50Ω裝修設計:注意用途于豐富的徽波微波射頻用途。
低加入耗用:最高的人2.0 dB(至30 GHz)。
高屏蔽度:最大60 dB(至30 GHz)。
高手機輸入非線性度:
1 dB輸出功率收縮(P1dB):標稱值28 dBm。
三階交調截點(IP3):標稱值52 dBm。
高額定功率正確處理有效率:
用路線圖:24 dBm。
端接線柱路:24 dBm。
ESD功率值:Class 1,1 kV人休模式(HBM)。
封裝:20引腳,3 mm×3 mm無引腳四面八方平扁封口(LGA)。
無高頻雜散:確保安全訊號無溶物。
微波通信rf射頻(RF)創立日期:至進而RF輸入輸出的0.1 dB平衡準確時間為15 ns。

軟件優越性
l 非反射層式50Ω規劃:ADRF5020主要包括非條件反射式50Ω制作,降了電磁波反射面和侵擾,提高了了數據報告互傳高質量。
l 高額定輸出外理錯誤率:在信號通路和端接線路上均體現了高額定輸出效能,具體中用高額定輸出紅外光頻射利用。
l 立于于集成型式:進行原則的封裝組織形式組織形式和引腳布置圖,立于于與其他一些微波加熱頻射功率器件集成型式到電源PCB電路板結構設計中。
采用范疇
l 測試儀估測:ADRF5020的高隔離度和低添加損耗量使其成測試圖片儀測量方法設備的非常理想決定,并能提高測試圖片儀統計數據精確性。
l 微波射頻無線路由通信網與VSAT:在紅外光wifi通信網和甚小眼徑POS機終端(VSAT)軟件中,ADRF5020還可以展示可靠的無線信號就能系統。
l 軍用裝備有線網絡通信與雷達偵測偵測:其高電功率加工效果和高直線度從而促使ADRF5020關鍵廣泛用于警用wifi微波通信和機載汽車雷達,要充分考慮嚴厲的工作任務施工環境條件。
l 微波通信抗衡(ECM)與寬帶網絡網通訊整體:在通訊PK對戰和寬帶網絡網通訊整體中,ADRF5020就能夠保證效率、精確度高的數據信息設置,保障機 的合適行駛。
l ADRF5020-EVALZ 就是一款徹底制做好的4層評定板,體系結構RO4003原料。想要+3.3 V和-2.5 V雙交流電源輸出功率供氣,提供數據CMOS/LVTTL邏輯學兼容操作。風險評估板上的RF鍵盤輸入4g信號都可以按照2.4mm邊界發RF聯接器RFC手機輸入,RF輸送預警可能在RF1和RF2無線聯接器上測定。
佛山市立維創展創新科技是ADI的二級分銷,主要的展示縮放器、線形廠品、數據表格切換器、音短視頻廠品、移動寬帶廠品、秒表和定時開關IC、光纖寬帶通訊技術產品設備、插孔和距離、MEMS和調節器器、電原和熱經管、辦理器和DSP、頻射和幾何圖形凈化i7處理器、觸點開關和合理安排器等,貨品原裝進口外盤,價格的優勢,歡迎詞質詢。
競爭者比對(44GHz水平)
規格型號 | 技術 | IL@28GHz | 尺寸大小 |
ADRF5020 | SOI | 1.3dB | 3mm×3mm |
HMC1114 | GaAs | 1.8dB | 4mm×4mm |
SKY13370 | pHEMT | 2.1dB | 2mm×2mm |