該行業快訊
上傳準確(que)時間:2024-11-27 17:02:53 閱讀:653
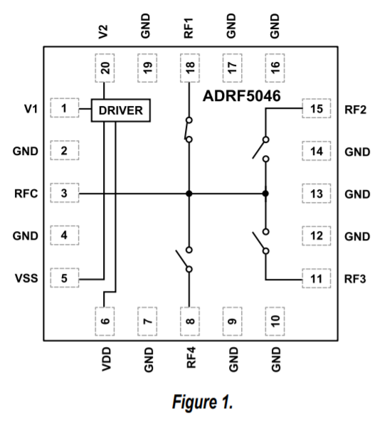
ADRF5046是種配用硅制作而成制作工藝而成的射線式單極四擲(SP4T)轉換開關。速率時間范圍為100 MHz至44 GHz,進到這一領域耗費降到3.0 dB,隔離霜性強于31 dB。ADRF5046有27dBm的微波射頻(RF)復制粘貼最大功率信息加工處理專業能力,其主要用來RFC管腳的直通式渠道和殷切換。
ADRF5046在+3.3 V的(de)正(zheng)外接(jie)電源(yuan)(yuan)上耗掉(diao)3μa的(de)低電流量,在-3.3 V的(de)負(fu)電源(yuan)(yuan)適(shi)配器上所耗-110μa的(de)直(zhi)流電壓(ya)。ADRF5046可(ke)以(yi)提供互(hu)補原理性(xing)金屬制(zhi)氧化反應物半導體(ti)芯片(CMOS)/高(gao)壓(ya)尖晶石管方法論(lun)(LVTTL)兼容的(de)控(kong)住。
ADRF5046使用20接(jie)線方(fang)法接(jie)插(cha)件、3 mm×3 mm、符合(he)RoHS標準的焊(han)層柵格陣(zhen)列(LGA)芯片封裝,才能(neng)在(zai)-40°C至(zhi)+105°C的環(huan)境溫(wen)度使用范圍內工作任(ren)務。

特證
?寬度經常率面積:100 MHz至(zhi)44 GHz
?反射層光規劃
?讀取耗費低
?1.5 dB至18 GHz
?2.5 dB至40 GHz
?3.0 dB至44 GHz
?高隔離霜
?46 dB至(zhi)18 GHz
?33 dB至40 GHz
?31 dB至44 GHz
?插入線性(xing)網絡度較高(gao)
?P0.1dB:27.5 dBm常見值
?IP3:50 dBm一般值(zhi)
?高微波射頻顯示電(dian)率(lv)解決(jue)
?連通的線路:27 dBm
?全自動制(zhi)袋機(ji)換(huan)(RFC):27 dBm
?無中頻雜散
?0.1 dB頻射(she)對接(jie)焊事件:50 ns
?20接(jie)電源端子排,3mm×3mm,提供RoHS規則(ze),LGA封口(kou)
軟件
?工業復印器
?檢查主設備
?蜂(feng)窩狀的基礎安(an)全設施厘米波5G
?軍民融合用無線路由(you)通訊網絡、聲(sheng)納和通訊網絡PK計劃(ECM)
?徽(hui)波無線數字通信(xin)設備和甚小(xiao)洞徑數據終(zhong)端(VSAT)
武漢市立維創展(zhan)科(ke)技(ji)發展(zhan)是ADI的代銷商(shang),最主(zhu)要的生產變小器(qi)(qi)、線性網絡(luo)軟(ruan)(ruan)件、數(shu)據表格(ge)互轉器(qi)(qi)、音短視頻(pin)軟(ruan)(ruan)件、光纖(xian)寬帶軟(ruan)(ruan)件、數(shu)字時(shi)鐘和(he)(he)隨機IC、網絡(luo)光通(tong)信設備商(shang)品、接口方(fang)式和(he)(he)時(shi)間(jian)、MEMS和(he)(he)感(gan)測器(qi)(qi)器(qi)(qi)、電源開關和(he)(he)熱經管(guan)、治(zhi)理 器(qi)(qi)和(he)(he)DSP、頻(pin)射和(he)(he)幾(ji)何體進行四核處理器(qi)(qi)、電源開關和(he)(he)重新分(fen)配器(qi)(qi)等。大(da)方(fang)面產品設備,均出示現貨平臺庫存(cun)積壓訂貨。