的行業新聞
正式發布耗時:2024-10-24 16:58:54 瀏覽網頁:822
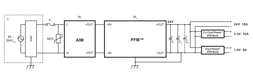
VICOR電源開關AIM1714VB6MC7D5T00摸塊是款最前端摸塊,堅持創新驅動于一直與國際聯盟交流電電連接,以及為PFM4414 VIA車輛具備著整流聊天輸人。AIM1714VB6MC7D5T00將橋式整流器、EMI濾波器和浪涌維護24v電源線路硬件配置在簡約易用的VIA塑料板材表殼中。AIM1714VB6MC7D5T00封裝形式中的AIM和PFM組件都可以為普遍性的網絡終端軟件應用進行中小學型、高有效率的率和最簡單的AC-DC徹底解決計劃書。

實用功能與優點
?實用型發送(85-264VAC,47-63Hz)
?機箱裝置或PCB按照品種厚度
?精妙提高的封裝
?深藏不露
?EMI濾波
?與其他MOV和保險費用管配上應用,與VICOR PFM4414新產品配上時,無法EN61000-4-5 3級浪涌保護
典型性應用
?中的型蜂窩狀移動基站
?電信網站網站變換機器設備
?LED照明工作
?檢查和量測議器
?200-400W工藝電氣成套機系統
?智能環保設備
VICOR電源適配器提供數據 DC-DC、AC-DC電壓版塊,防曬丟開霜、非防曬丟開霜電壓版塊等換算器包括質量小,牢靠高,馬力黏度世界上頂尖等特點。鑒于現有交貨和的價格很不理想型,股票市場高性價比的臺達集團Cyntec的M block 電源適配器電源模塊替代品VICOR。
Cnytec公司設立于1991年,最主要是新車輛研發、產生和消售高精密度計算較和高密集度計算包塊、調節器器和適用前沿技術效果包塊。車輛最主要是包函模塊圖片化化電感、輸出包塊和高精密度計算較功率電阻器。絕大多數利用于可移動生產機、通信技術基站天線、機誡生產機等。
蘇州市立維創展高新科技受權代Cyntec旅游線成品,堅持創新驅動為加盟商提高優質品質、優質化量、報價辦理公證的主機電源成品。迄今為止,立維創展藏有陸續量Cyntec主機電源貨源,舉例說明產品型號:MUN12AD03-SEC,MUN3CAD03-SE等。設備原版原機,高質量能保證,并給中國有內地銷售市場帶來技術工藝兼容,追捧顧問。