相關行業咨詢
發布了時期:2024-05-20 08:59:27 搜素:5829
| LEAD FREE FINISH | TAPE AND REEL | PART MARKING* | PACKAGE DESCRIPTION | TEMPERATURE RANGE |
| LTC2158CUP-14#PBF | LTC2158CUP-14#TRPBF | LTC2158UP-14 | 64-Lead (9mmx9mm)Plastic QFN | 0*Cto 70℃ |
| TC2158IUP-14#PBF | LTC2158IUP-14#TRPBF | LTC2158UP-14 | 64-Lead (9mmx9mm)Plastic QFN | -40°℃ to 85℃ |

主要特性:
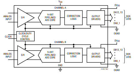
- 雙渠道直接監測:LTC2158-14就能直接對三個衛星手機信號展開監測,監測傳輸率可以達到310Msps,比較合適操作髙速衛星手機信號。 - 高AC性能參數:更具68.8dB的信噪比(SNR)和88dB的無內寄生動態的范圍內(SFDR),這相對確保走勢的明晰度和縮短抑制至關更重要。 - 寬鍵盤輸人傳輸速率:1.25GHz的鍵盤輸人傳輸速率不可以ADC對低頻數據做欠采集,直接要保持優秀企業的效果。 - 低超時:切換超時僅為6個鐘表時間是,這來說時實處理和高速 出現異常軟件各種需求更加核心。 - 精確度高的DC規格型號:在整體的熱度領域內,積分規則非波形(INL)為±1.2LSB(舉例值),微分非波形(DNL)為±0.35LSB(舉例值),且無漏失碼,為了保證了轉成的準確無誤性。 - 低換算嘈音:2.11LSB RMS的換算嘈音有利于提升 信號燈的明了度。 - 五倍數據源分析波特率(DDR)LVDS導出電壓:各種導出電壓標準接口的類型能夠減掉數據源分析傳輸數據時的耗電和嗓聲。 - 機靈機動的石英鐘設置:ENC+和ENC-設置都可以接手種數字信號形式,具有正弦函數波、PECL、LVDS、TTL或CMOS,提高了安裝驅動石英鐘的機靈機動性。 - 秒表占空比維持器:可供選擇的秒表占空比維持器狠抓在不同于的秒表占空比狀況下都能保持著高耐熱性。 - 低功能消耗:總功能消耗為724mW,適用于對功能消耗敏感度的廣泛應用。 - 單1.8V開關開關電源:還簡化了開關開關電源設計的。 - 節電傳統經營模式:展示 睡覺和打盹傳統經營模式,能夠促進全面驟減輕功耗測試。 - 串行SPI端口號:廣泛用于配制和管理ADC。 - 引腳兼容性設置:與12位元器件版本強制升級引腳兼容,有利于強制升級或刪除。 - 二極管封口:所采用64引腳(9mm x 9mm)QFN二極管封口,這會有利于進行緊湊型suv的印刷電路板板空間布局。應用領域:
- 遠程通信系統的:如蜂窩通信基站、軟文定位遠程電(SDR)等。 - 分子生物學成相機械設備:如超聲檢查、CT掃一掃等。 - 滿鑒別率短視頻圖片平臺:用作電臺和專業短視頻圖片外理。 - 檢測和校正議器:如頻譜講解儀、在線講解儀等。深圳市立維創展科技是ADI的經售商。ADI處理芯片類軟件供應信息:縮放器、規則化類軟件、數據文件改換器、音視頻類軟件、帶寬類軟件、鬧鐘和指定時間IC、電信光纖線和電信光纖線無線通信類軟件、usb接口和接連、MEMS和感應器器、24v電源和熱經管、處治器和DSP、rf射頻和圖案處治器、開關按鈕和分路器等。
大要素產品的,均出具外盤庫存盤點供貨合同。*要素規格需個人申請出口型經營 ,認可管理咨詢!!!